content loaded
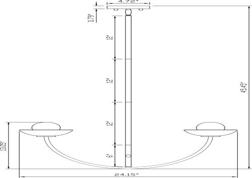
Size
MSRP: $445.00
MRVO-001
Size
MSRP: $445.00